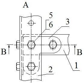
Схема сборки стеллажей для офиса ЛСУ

Комплектация офисного стеллажа:

Поз.1 - полка - 4 шт.
Поз.2 - стойка - 4 шт.
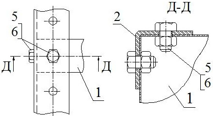
Поз.3 - уголок - 32 шт.
Поз.4 - подпятник - 4 шт.
Поз.5 - болт М6х14 - 104 шт.
Поз.6 - гайка М6 - 104 шт.

Максимальное количество полок в секции - 4.

Порядок сборки стеллажа для офиса.

1. На ровную горизонтальную поверхность положить параллельно две стойки и на них, через усиливающие уголки, согласно схеме, закрепить четыре полки (вертикально). Полки необходимо располагать таким образом, чтобы при приведении офисного стеллажа в вертикальное положение, лицевая (гладкая, без усилителя) сторона каждой полки была обращена вверх. Для обеспечения максимальной жесткости конструкции, нижнюю полку необходимо закрепить на уровне четвертого отверстия от нижнего торца стойки, а верхнюю полку на уровне первого отверстия от верхнего торца стойки. Расстояние между остальными полками определяется заказчиком.

2. Сверху на полки аналогичным образом закрепить остальные две стойки.

3. На нижние торцы стоек согласно схеме прикрепить подпятники.

4. Стеллаж поднять в вертикальное положение и установить на ровную поверхность.

5. С помощью отвеса и уровня добиться вертикального положения стоек и горизонтального положения полок.

С помощью гаечных ключей затянуть все соединения!

Дополнительные к базовому комплекту полки крепятся к стойкам без усиливающих уголков.

Продажа стеллажей и техники для склада - MKN.RU © 2000-2026
8 (495) 505-51-03      8 (495) 505-51-08
Яндекс.Метрика